- 易迪拓培训,专注于微波、射频、天线设计工程师的培养
TD-MBMS系统架构与关键技术浅析
在3GPPR6版本中定义的MBMS(MultimediaBroadcast Multicast Services) 是指无线网络中一个数据源向多个用户发送数据的点到多点(p-t-m)业务,可以在不改变网络结构的基础上实现网络资源共享。除了共享移动核心网和接入网资源,MBMS还可以共享更为紧张的空中接口资源以提高无线资源的利用率。MBMS的优势在于不仅能实现纯文本低速率的消息类组播和广播,还能实现高速率多媒体数据业务的组播和广播。
TD-MBMS的系统构架
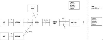
TD-MBMS的实现方式如图1所示,主要是在原有TD-SCDMA/WCDMA分组域的基础上,增加新的功能实体(BM-SC,广播组播业务中心),通过这些新的功能实体,添加TD-MBMS的功能,并且定义新的逻辑共享信道来实现空口资源的共享。从图1的TD-MBMS的网络构架中,我们可以看到基本的业务流程:内容提供商提供广播电视内容,经过BM-SC将传输流转发给3G核心网,并进一步转发给UTRAN,通过Uu口发送给UE。

图1 MBMS系统网络架构示意图
图2显示的是TD-MBMS的网络参考模型和接口概况,其中需要注意的是,MBMS承载业务的边缘为Gmb、Gi参考点,即广播组播业务中心BM-SC与GGSN之间的接口(Gmb和Gi),Gmb接口提供控制面功能,Gi接口为用户面承载功能。
GGSN与BM-SC之间的信令交换在Gmb参考点进行,实现MBMS的控制面包括以下信令。
图2 MBMS网络参考模型及接口
MBMS承载业务相关的信令
●GGSN建立MBMS的承载上下文并在BM-SC注册。
●GGSN或者BM-SC释放MBMS承载上下文,GGSN在BM-SC注销。
●BM-SC向GGSN通知会话开始和结束。
用户相关的信令
●BM-SC批准用户在GGSN的入组业务激活请求。
●GGSN向BM-SC报告用户的入组激活,允许BM-SC与SGSN和GGSN中的MBMSUE上下文同步。
●GGSN向BM-SC报告用户的释放和去附着,保证BM-SC中的上下文同步。
当用户业务结束时,BM-SC发起承载业务去激活流程。
BM-SC功能描述
TD-MBMS的系统构架和以往构架不同的是多出了一个功能实体BM-SC,所以有必要对BM-SC的功能加以特别的描述。
BM-SC作为内容提供商进行MBMS传送的接入点,用来在PLMN范围内批准和发起MBMS承载业务。BM-SC作为一个功能实体,所有的MBMS业务都必须通过该实体来实现。如图3所示,BM-SC包括了5个子功能模块:成员功能、会话和传送功能、代理和传输功能、业务发布功能和安全功能。各子模块所实现的主要功能描述如下。
图3 BM-SC 功能结构
成员功能
BM-SC成员功能能提供对UE发出请求激活MBMS业务的授权,成员功能可拥有MBMS业务用户的签约信息。成员功能可以为MBMS业务用户生成计费记录。成员功能是MBMS承载业务层的一项功能,同时也可提供用户业务层的功能,如成员管理、密钥管理等。在这种情况下,它具有Gi接口。
会话和传送功能
BM-SC的会话和传送功能使得BM-SC能够调度MBMS的会话传送,此功能为每一次MBMS会话标注会话标识,该会话标识通常为2~3个字节,既可以通过内容的应用层传输,也可以通过短格式(比如最低位字节)的MBMS会话开始请求消息传送到RNC/BSC。UE在进行点到点内容修补时,可利用完整的MBMS会话标识来区分MBMS会话。
BM-SC会话和传送功能还能够向GGSN提供传输相关的参数,如服务质量和MBMS服务区等;能够在MBMS数据传送之前和之后发起和终止MBMS承载资源;BM-SC会话和传送功能也能够使用恰当的差错控制机制来进行编码纠错。
代理和传输功能
BM-SC代理和传输功能是一项MBMS承载业务功能,它能够基于内容提供商传送的数据生成计费记录,并将内容提供商的名字在会话开始阶段通过Gmb接口提供给BM-SC代理和传输功能。同时,从MBMS会话和传送功能向GGSN发送MBMS数据时,BM-SC代理和传输功能作为中间件使用。代理和传输功能可进一步细分为管理控制平面(Gmb)的代理功能和管理组播负载的传输功能。
业务发布功能
BM-SC业务发布功能是用户业务层功能,它能为组播和广播用户提供业务的发布能力,并能向UE提供媒体描述信息(如视频类型、音频编码等)。
安全功能
MBMS用户业务可使用安全功能进行用户数据完整性和私密性保护。MBMS安全功能用于向已授权用户分发MBMS密钥(密钥分发功能)。
TD-MBMS关键技术
宏分集技术
TD-MBMS系统支持两种宏分集方案。方案一是对于内容相同的MBMS业务,采用同频点、同时隙、同码道、同步发送相同内容,而且使用相同的Midamble码和扰码;方案二是对于内容相同的MBMS业务,采用同频点、同时隙、同码道、同步发送相同内容,但是采用各小区原有的扰码和Midamble码。
在传输广播业务的时隙采用单频网配置的情况下,多个相邻的小区采用统一的扰码(包括Midamble码),就可以保证各个小区发射的信号完全相同,UE只需将多个小区发射的信号当成多径处理,可以非常简单地实现UTN宏分集。
在这种情况下,当在多个小区中传输广播业务时,RNC为多个小区统一分配广播业务资源,并指定该广播业务使用的扰码和Midamble码,通过信令告知各NodeB和UE;各小区使用这些特定码来形成广播业务突发,并在相同的时频资源上进行传输;UE在相应资源位置接收到多个小区同时传输的相同突发,之后采用指定的Midamble码进行联合信道估计,采用指定的扰码对数据进行解扰,这样就可解调出所要的广播业务数据。
在传输广播业务的时隙采用现有的同频网配置的情况下,扰码和Midamble码仍旧基于现有的网络配置。联合检测的宏分集技术充分利用广播业务的特点,通过RNC统一控制,保证相邻基站在相同的时间通过相同传输资源发送相同的广播数据,终端在接收信号的时候,可以采用宏分集的联合检测算法,将邻小区信号作为有用信号而不是干扰,通过物理层合并的方式,大大改善接收可靠性。
宏分集的联合检测算法根据对各同频相邻小区的测量,选取进行宏分集合并的相邻小区;获取本小区及选取的相邻小区的广播/组播信号,并对其进行多小区联合信道估计,得到本小区及所述相邻小区的联合信道响应结果;根据各小区的信道响应结果分别计算各小区的传输矩阵并合并,利用合并后传输矩阵进行联合检测,获得检测数据。或者先对计算后得到的各小区的传输矩阵分别进行联合检测,然后对检测的结果进行分集合并,获得检测数据。利用这种算法,可以大大提高同频广播业务的接收性能。
随机相位偏转
由于在现实网络中,UE从多个小区接收的信号进行叠加后可能产生深衰落现象,这会使得功率叠加增益降低。因此,为了提高小区的MBMS服务质量,考虑对多个小区的发送端分别引入不同的随机相位旋转,改善信道特性,使其产生深衰落的地理位置随机变化,避免了某些地理位置上的用户始终处于深衰落状态。由于人为改变信道特性仅仅是针对基站设备软件的更改,对终端设备无任何影响。
支持灵活的配置
TD-MBMS支持灵活的广播区域配置,可以针对时隙配置不同大小的广播区域,比如需要在足球赛开战之前在足球赛场及周边区域广播本次比赛双方队员的基本资料时,运营商可以在这片区域内选取某个频点上的某个时隙组成一个UTN网络,来传输这个业务。
该系统还支持灵活的资源分配,针对比较固定的业务,如电视频道,可以采用静态的资源分配方式,在小区建立时配置好相应资源;对于随机性的业务,可以在业务发起前分配资源,业务结束后进行释放,这样可以充分利用系统资源。
Iub口传输共享
传统的TD-SCDMA基站中的不同小区,即使传送相同的MBMS业务也需要建立和使用不同的传输承载,这对TD-SCDMA基站和基站控制器(RNC)之间的Iub接口资源造成很大的浪费。通过对现有系统的Iub接口进行升级,在同一个NodeB下的多个小区同时传输相同MBMS业务的情况下,可以实现FACH信道承载共享,这样可以大大节省Iub接口的传输资源。
采用以上关键技术,结合TD-SCDMA原有特点,使得TD-MBMS具备如下技术特点。
(1)作为同步系统可以方便地实现SFN宏分集;
(2)通过时分方式传输业务,更利于终端省电;
(3)采用简化的传输过程,降低了系统和终端的处理复杂性;
(4)灵活的资源配置能有效利用无线资源;
(5)支持Iub接口承载共享,提高了传输效率。
上一篇:移动通讯词汇-1(中英对照)
下一篇:面向产品制造的MIMO
WLAN测试方法


