- 易迪拓培训,专注于微波、射频、天线设计工程师的培养
THS7364设计的六路低功耗HD(SD)视频技术
录入:edatop.com 点击:
本文介绍了THS7364功能方框图,多种应用电路图以及THS7364EVM评估板主要特性,电路图,材料清单和PCB布局图.
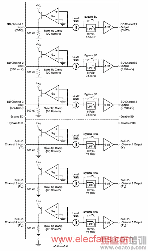
THS7364是TI 公司的采用SiGe BiCom3X工艺的六路低功耗HD(SD)视频缓冲器,集成了三个SDTV滤波器(9.5-MHz)和三个全HD的HDTV滤波器(72-MHz),所有滤波器具有可旁通的6阶Butterworth特性, 内置增益6-dB (2 V/V) ,单电源+2.7V 到+5V工作,主要用在STB,PVR/DVDR和BluRay输出视频缓冲器.
THS7364应用:
Set Top Box Output Video Buffering
PVR/DVDR Output Buffering
BluRay™ Output Video Buffer

图1.THS7364功能方框图

图2.THS7364单电源DC输入/DC输出耦合视频线路驱动器
来源:电子发烧友
上一篇:增强型DC/DC隔离变压器
下一篇:综合布线线缆的防火与环保


