- 易迪拓培训,专注于微波、射频、天线设计工程师的培养
LED开路保护器设计
近年来,采用1~3W大功率LED做的灯具逐年增加,其功率可从几瓦到上百瓦。大功率LED灯具都采用LED串联的结构,用恒流供电,其结构如图1所示。一般1W LED的工作电流为250~350mA,3W LED的工作电流为600~700mA,电流大的可达900~1000mA。

图1 LED驱动电路
这种串联LED的灯具有一个缺点,如果串联的LED中有一个LED开路,则整个灯都不亮了。这对某些灯具(如警示灯、矿灯、应急灯等)的应用是十分危险的。为了防止LED开路时,LED灯还能亮,则采用LED开路保护器是十分有效的,它能保证灯具使用的安全性。
目前已开发出的1W LED开路保护器有两种结构:齐纳二极管型和晶闸管型(单向可控硅型),如图2所示。有的LED生产厂家直接将齐纳二极管与LED封装在一起,即带有开路保护的LED也已上市。3W LED的工作电流一般取值700~1000mA,这种开路保护器由于电流较大在市上还少见。

图2 两种LED保护器件
本文将介绍安森美公司在2009年1月推出的新器件NUD4700及SMD公司在2008推出的SMD602,它们都是晶闸管型LED开路保护器。
NUD4700的工作原理
NUD4700是一种两端器件,其外形如图3所示,A端为阳极,C端为阴极。其内部结构如图2的下图所示,它由控制电路及单向晶闸管组成。

图3 NUD4700外形
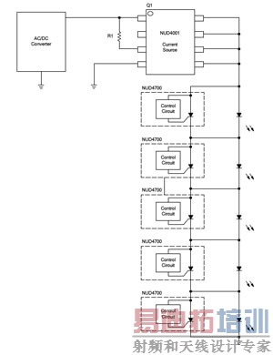
NUD4700的典型应用电路如图4所示。这是一个交流供电,往AC/DC转换器输出直流电压,再由NUD4701恒流LED驱动器驱动5个串联的1W大功率LED的电路。NUD4700与LED并联连接在一起。在LED未开路时,由于LED的正向降压VF小于晶闸管的“开启”电压V(BR),则NUD4700为“关闭状态”。在关闭状态时,只有小于250μA的漏电电流经过NUD4700,相当于NUD4700“开路”,不影响LED的工作。若串联的LED中有一个(如LED2)因损坏而开路了,此时与LED2并联的NUD4700的A、C之间电压超过了 “启动”电压V(BR)(5.5~7.5V),NUD4700启动,由关闭状态转为“导通状态”。在导通状态时, A、C之间导通电压VT为1.0~1.2V。此时,LED的电流由LED1流经NUD4700的A、C,再流入LED3,如图5所示。5个LED的灯仅有4个LED工作,其亮度稍差一些,但仍可以正常工作,并且不影响其恒流的大小。

图4 NUD4700应用电路

图5 NUD4700工作原理 [p]
从上面的分析可知:在LED正常时,器件不起作用(相当开路);在LED损坏开路时,它起作用(相当通路),使LED的电路能形成通路而工作。
NUD4700的主要参数
NUD4700的主要参数:峰值重复关闭状态时电压为-0.3~+10V;关闭状态时的漏电流ILEAK为100~250μA;启动电压(也称为“击穿电压”Breakdown Voltage)V(BR)为5.5~7.5V;保持电流IH为6~12mA;闭锁电流(latching Current)IL为35~70mA;导通状态电压VT为1~1.2V;导通状态时的平均电流IT(AVG)为0.376~1.3A(电流大小与焊盘面积有关:在焊盘面积为25.4mm×25.4mm时,散热条件好,IT可达1.3A);该器件为贴片式2mm×2.1mm封装(高度为1mm);工作温度范围为-40~+85℃。
典型工作波形
NUD4700的典型工作波形如图6所示。图6中,绿色是LED电流波形,棕色是NUD4700关闭状态转换到导通状态的波形。椭圆内是LED开路瞬间波形,此时,LED电流IF经一些波动后恢复到原来电流;与此同时,NUD4700由关闭状态转换到导通状态,其电压由VF下降到1~1.2V,其响应时间是很快的(dv/dt最小值为250V/μs)。

图6 NUD4700工作波形图
SMD602的结构与工作原理
SMD602的内部结构如图7所示,它的基本结构与NUD4700相同,但增加了一个反接的二极管,可在LED串极性接反时提供一个电流通路,由于二极管的正向压降为1.1~1.5V,其可保护LED免受反压击穿(一般LED反压击穿电压为5V)。

图7 SMD602内部结构
SMD602的工作原理与NUD4700完全相同。它的正极与LED的阳极连接,负极与LED的阴极连接,如图8所示。在LED没有开路时,SMD602都为关闭状态,其漏电流为100μA(典型值)。图中橘黄色线为LED电流ILED。

图8 SMD602工作在LED导通状态下
若在串联的LED中有一个开路,如图9所示,则与此并联的SMD602的正、负极之间电压大于其开启电压4.65~5.25V,此器件由关闭状态转换为导通状态,降压为1~1.2V。LED电流经SMD602内部的晶闸管后流到下一个LED,保证其他未开路的LED正常工作。图中用红线X表示此LED开路。

图9 SMD602工作在LED开路状态下
若LED串与驱动器连接时极性接反,则有可能LED受反压过大而损坏。由于SMD602内部有反接二极管,在LED串极性接反时,其内部的二极管极性是正确的,则LED的电流经SMD内部的二极管形成回路,LED得到保护,如图10所示。

图10 SMD602工作在LED反接状态下 [p]
SMD602主要参数与特性
SMD602的主要参数:输入电压VDC最大值为38V;导通状态时最大电流IBP=500mA;反向电流IR最大值为500mA;启动电压V(BR)为4.65~5.25V,导通状态时压降VT为1~1.2V;在LED极性反接时,其压差为1.1~1.5V;在关闭状态时漏电流为100~150μA;维持电流IH最大值为20mA,工作温度范围-40~+85℃。

图11 SMD602的特性
SMD602有两种封装:2mm×2mm FBP封装及3引脚SOT-89封装,其引脚排列如图12所示。

图12 SMD602的引脚排列
结束语
以上介绍的两种LED开路保护器适用于1W大功率LED,其ILED电流为350mA。它们可以与LED一起安装在六角形的铝基板上。
射频工程师养成培训教程套装,助您快速成为一名优秀射频工程师...

