- 易迪拓培训,专注于微波、射频、天线设计工程师的培养
单通道13通道无线电遥控开关电路
录入:edatop.com 点击:
本例介绍的单路无线电遥控开关,它采用无线电遥控发射/接收和其他有关元器件组成,若在发射电路稍作改动,可组成3通道无线电遥控开关。
工作原理
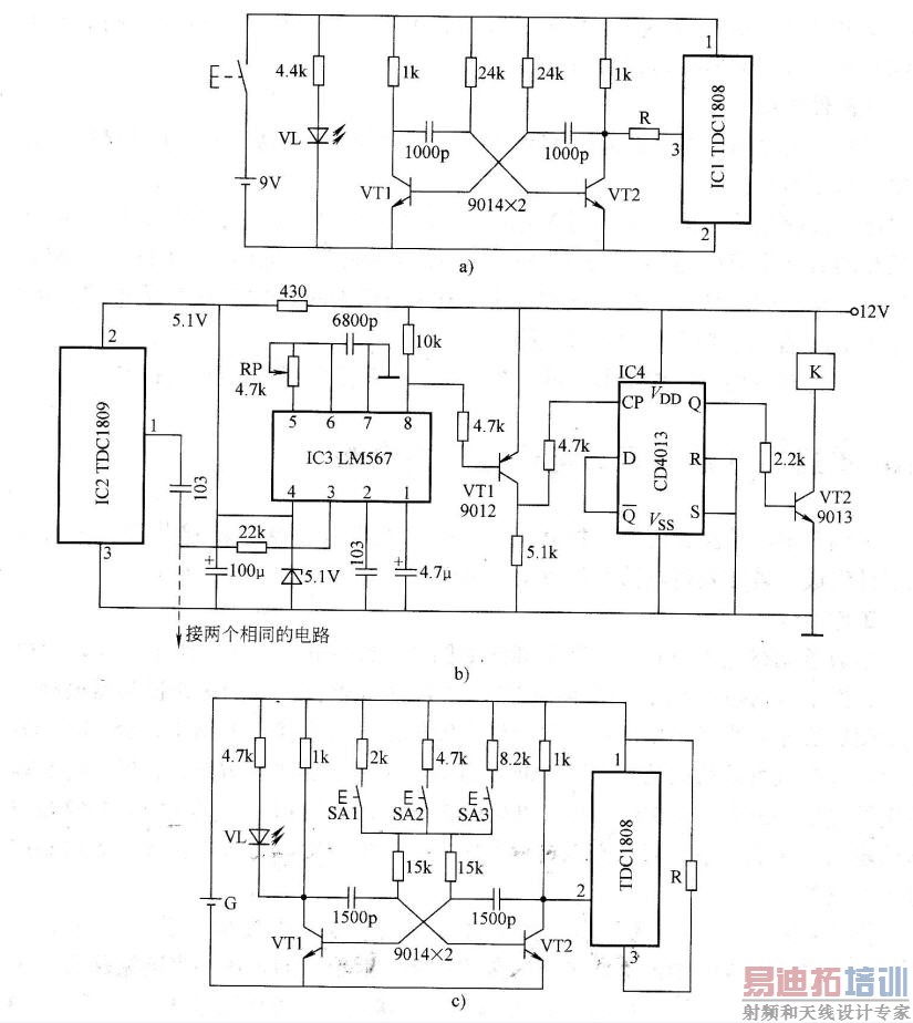
单通道无线电遥控开关电路原理图和图所示。在发射电路中,按下发射按钮SA,由晶体管M, VT2等元器件组成的多谐振荡器振荡产生20kHz信号去调制TDC1808发射组件后发射出去。在接收电路中,经TDC 1809接收组件接收解调后的信号送到LM567锁相环集成电路进行解码,LM567的8脚输出低电平去触发由CD4013组成的双稳态电路,每发射一次信号,LM567的8脚就输出一次低电平,双稳态电路就翻转一次,使继电器吸合或释放,达到遥控开关的目的。
图是3通道无线电遥控开关发射器电路,在发射电路中,由VTl ,VT2等元器件组成的TDC1808多谐振荡器控制发射组件的工作,多谐振荡器不工作,TDC1808也不工作。3个按钮SA1一SA3串接的电阻器电阻值不同,可产生3种不同的调制信号频率,经接收电路译码后可分别控制3个通道开关。接收电路工作原理与单路遥控开关接收电路相同。
元器件选择
ICl选用TDC1808无线遥控发射集成电路模块;IC2选用TDC1809无线遥控接收集成电路模块;IC3选用LM567音频锁相环译码器集成电路;IC4选用CD4013双D触发器数字集成电路。
其他元器件均无特殊要求,可按图所标型号及参数进行选用。

工作原理
单通道无线电遥控开关电路原理图和图所示。在发射电路中,按下发射按钮SA,由晶体管M, VT2等元器件组成的多谐振荡器振荡产生20kHz信号去调制TDC1808发射组件后发射出去。在接收电路中,经TDC 1809接收组件接收解调后的信号送到LM567锁相环集成电路进行解码,LM567的8脚输出低电平去触发由CD4013组成的双稳态电路,每发射一次信号,LM567的8脚就输出一次低电平,双稳态电路就翻转一次,使继电器吸合或释放,达到遥控开关的目的。
图是3通道无线电遥控开关发射器电路,在发射电路中,由VTl ,VT2等元器件组成的TDC1808多谐振荡器控制发射组件的工作,多谐振荡器不工作,TDC1808也不工作。3个按钮SA1一SA3串接的电阻器电阻值不同,可产生3种不同的调制信号频率,经接收电路译码后可分别控制3个通道开关。接收电路工作原理与单路遥控开关接收电路相同。
元器件选择
ICl选用TDC1808无线遥控发射集成电路模块;IC2选用TDC1809无线遥控接收集成电路模块;IC3选用LM567音频锁相环译码器集成电路;IC4选用CD4013双D触发器数字集成电路。
其他元器件均无特殊要求,可按图所标型号及参数进行选用。

射频工程师养成培训教程套装,助您快速成为一名优秀射频工程师...
天线设计工程师培训课程套装,资深专家授课,让天线设计不再难...
上一篇:针对绿色模式应用的自举电路
下一篇:基于I2C总线的大型开关矩阵设计与实现
射频和天线工程师培训课程详情>>

