- 易迪拓培训,专注于微波、射频、天线设计工程师的培养
XTR108 可编程的4~20mA两线电流变送器电路
录入:edatop.com 点击:
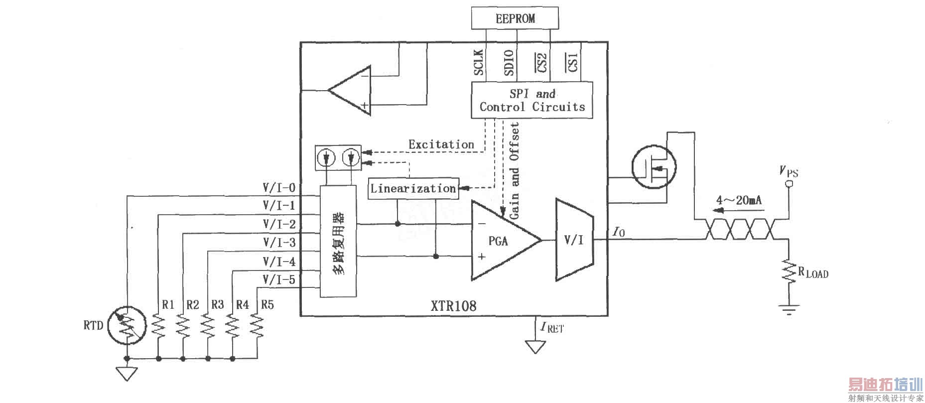
XTR108是用于温度和电桥式传感器的“灵巧”可编程的4~20mA两线电流变送器。在模拟信号通道内,通过一个标准串行接口对零点、步长和线性化误差进行校正,无需人工微调,外部非挥发性E2PROM存储校正设置。全模拟信号通路包括输入多路复用器、自动零点校正可编程增益仪表放大器、双可编程电流源、线性化电路、电压基准、辅助校准器、内部晶振、控制逻辑和一个输出电流放大器。由于传感器直流失调电压引起的电平偏移,可编程补偿可选择升和降标定输出,当失去电源时自动复位到初始状态。通过多路复用器引入电流源,能用于直接激励RTD温度传感器、压力式电桥或其他传感器。XTR108内部的独立运放可完成电流-电压的变换,其额定温度为-40~+85℃。XTR108的引脚排列如图所示。

其内部等效框图如下图所示:


其内部等效框图如下图所示:

射频工程师养成培训教程套装,助您快速成为一名优秀射频工程师...
射频和天线工程师培训课程详情>>

